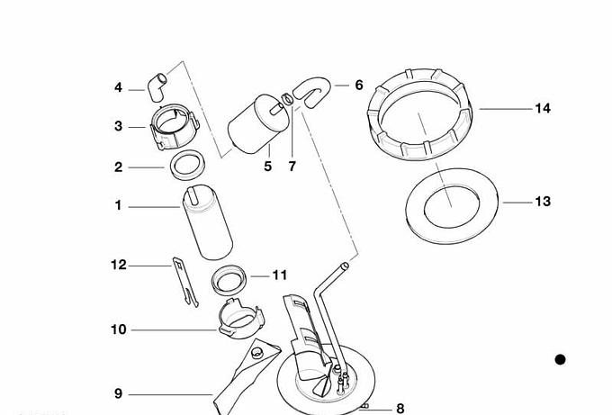
Kołnierz pompy paliwowej

16142305978

1 374,56

1374.56 zł

brak

Towar wycofany z produkcji, bez części zamiennej.
Numer części 16 14 2305978
Typ pojazdu
Waga 313 g
Stan Nowy produkt

Część zastosowana w pojazdach:

Dobór części po numerze VIN daje pewność właściwego doboru części do pojazdu. wyszukiwanie wg VIN
Seria Model Silnik Karoseria Rynek
Dane zagregowane; mogą dotyczyć różnych wersji wyposażenia/rynku.
Schematy montażowe
Pompa paliwowa/Filtr paliwa
Serie pojazdów
K41 K58

Zakupy wg kategorii