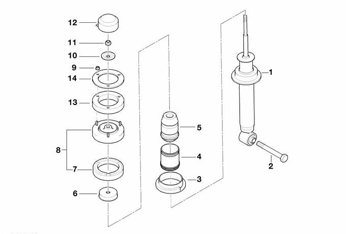
Amortyzator dodatkowy tylny

33531091031

136,38

136.38 zł

7-10 dni

136,38 zł
Część zastąpiona, dostępna - bez nowego numeru części.
Numer części 33 53 1091031
Typ pojazdu
Waga 9 g
Stan Nowy produkt

Część zastosowana w pojazdach:

Dobór części po numerze VIN daje pewność właściwego doboru części do pojazdu. wyszukiwanie wg VIN
Seria Model Silnik Karoseria Rynek
Dane zagregowane; mogą dotyczyć różnych wersji wyposażenia/rynku.
Schematy montażowe
Kolumna McPhaersona tylna elem. pojedyn
Serie pojazdów
E38 E39

Zakupy wg kategorii