Zdjęcie/schemat produktu

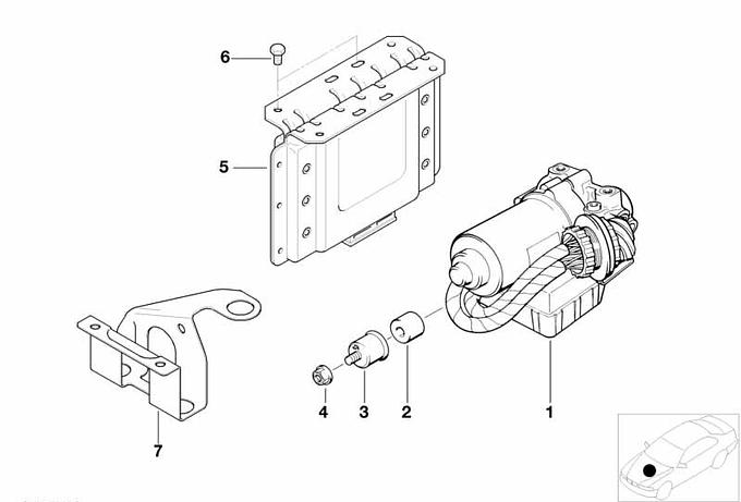
Z3 E36 / M43 / Z3 1.8 / Agregat hydrauliczny ABS/ASC+T

Łożysko gumowe

34511163072

26,95

26.95 zł

7-10 dni

26,95 zł
Część zastąpiona, dostępna - bez nowego numeru części.
Numer części 34 51 1163072
Typ pojazdu
Waga 1 g
Stan Nowy produkt
Pozycja na schemacie 2

Część zastosowana w pojazdach:

Dobór części po numerze VIN daje pewność właściwego doboru części do pojazdu. wyszukiwanie wg VIN
Seria Model Silnik Karoseria Rynek
Dane zagregowane; mogą dotyczyć różnych wersji wyposażenia/rynku.
Schematy montażowe
Agr. hydr. ASC/sterownik/Mocowanie Agr. hydr. ABS/ASC/Sterownik/Uchwyt Agregat hydrauliczny ABS/ASC+T
Serie pojazdów
E36

Zakupy wg kategorii