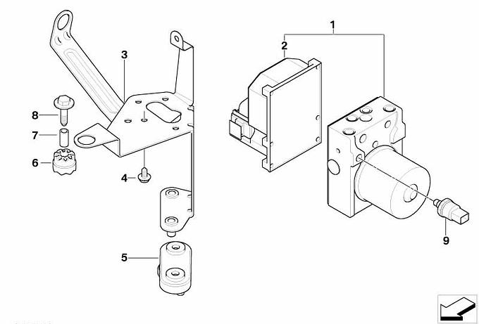
Agregat hydrauliczny DSC

34516762114

10 971,21

11205.57 zł

7-10 dni

10 971,21 zł
Towar wycofany z produkcji, bez części zamiennej.
Numer części 34 51 6762114
Typ pojazdu
Waga 315 g
Stan Nowy produkt

Część zastosowana w pojazdach:

Dobór części po numerze VIN daje pewność właściwego doboru części do pojazdu. wyszukiwanie wg VIN
Seria Model Silnik Karoseria Rynek
Dane zagregowane; mogą dotyczyć różnych wersji wyposażenia/rynku.
Schematy montażowe
Agr. hydr. DSC/sterownik/Mocowanie
Serie pojazdów
E46

Zakupy wg kategorii