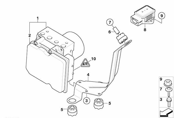
Agregat hydrauliczny DXC

34516773013

13 165,48

13446.72 zł

7-10 dni

13 165,48 zł
Towar wycofany z produkcji, bez części zamiennej.
Numer części 34 51 6773013
Typ pojazdu
Waga 228 g
Stan Nowy produkt

Część zastosowana w pojazdach:

Dobór części po numerze VIN daje pewność właściwego doboru części do pojazdu. wyszukiwanie wg VIN
Seria Model Silnik Karoseria Rynek
Dane zagregowane; mogą dotyczyć różnych wersji wyposażenia/rynku.
Schematy montażowe
Agregat hydr. DXC/Mocowanie/Czujniki
Serie pojazdów
E53

Zakupy wg kategorii