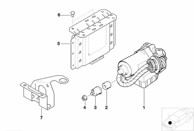
Sterownik główny ASC+T

34521164094

5 231,89

5426.21 zł

7-10 dni

5 231,89 zł
Produkt niedostępny - zamów nowszy numer:
Numer części 34 52 1164094
Typ pojazdu
Waga 68 g
Stan Nowy produkt

Część zastosowana w pojazdach:

Dobór części po numerze VIN daje pewność właściwego doboru części do pojazdu. wyszukiwanie wg VIN
Seria Model Silnik Karoseria Rynek
Dane zagregowane; mogą dotyczyć różnych wersji wyposażenia/rynku.
Schematy montażowe
Agr. hydr. ASC/sterownik/Mocowanie Agr. hydr. ABS/ASC/Sterownik/Uchwyt Agregat hydrauliczny ABS/ASC+T
Serie pojazdów
E36

Zakupy wg kategorii