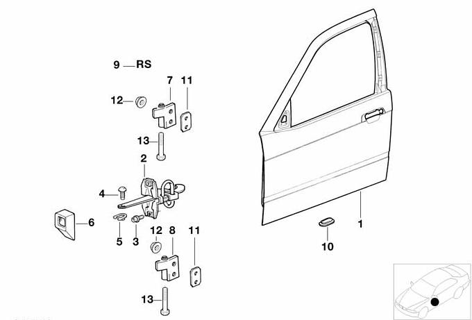
Zawias drzwi przedni górny prawy

41521960234

235,88

235.88 zł

7-10 dni

235,88 zł
Element zastąpiony nowym numerem katalogowym.
Numer części 41 52 1960234
Typ pojazdu
Waga 39 g
Stan Nowy produkt

Część zastosowana w pojazdach:

Dobór części po numerze VIN daje pewność właściwego doboru części do pojazdu. wyszukiwanie wg VIN
Seria Model Silnik Karoseria Rynek
Dane zagregowane; mogą dotyczyć różnych wersji wyposażenia/rynku.
Schematy montażowe
Drzwi przednie, zawias/hamulec
Serie pojazdów
E36

Zakupy wg kategorii