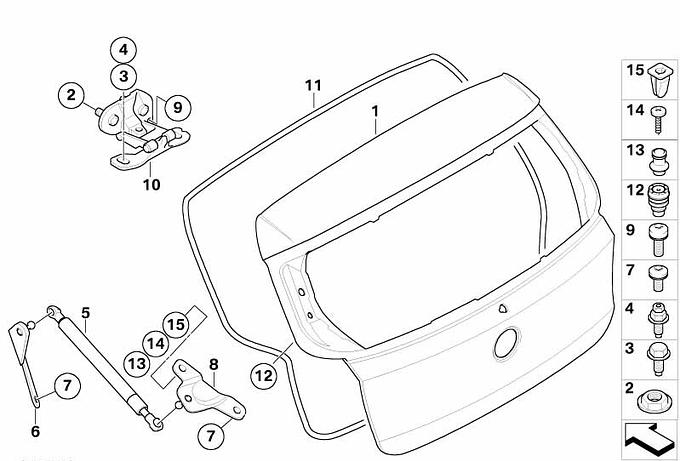
Pokrywa bagażnika

41627133898

3 760,33

3734.81 zł

7-10 dni

3 760,33 zł
Część w aktualnym łańcuchu zamienności.
Numer części 41 62 7133898
Typ pojazdu
Waga 1038 g
Stan Nowy produkt

Część zastosowana w pojazdach:

Dobór części po numerze VIN daje pewność właściwego doboru części do pojazdu. wyszukiwanie wg VIN
Seria Model Silnik Karoseria Rynek
Dane zagregowane; mogą dotyczyć różnych wersji wyposażenia/rynku.
Schematy montażowe
Tylna klapa/poj. części
Serie pojazdów
E81 E87

Zakupy wg kategorii