-
-9.0%
5 831,52 zł 5 306,68 zł Oszczędź 524,84 zł -
-7.0%
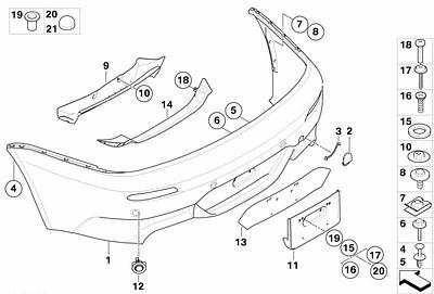
Zaślepka ucha holowniczego, lakierowana
51110002628
332,90 zł 309,60 zł Oszczędź 23,30 zł -
-8.0%
Ramię środkowe lakierowane
51110006691
1 518,20 zł 1 396,75 zł Oszczędź 121,45 zł -
-4.0%
Zest mocowań czujnika PDC tyln.
51110009481
203,41 zł 195,27 zł Oszczędź 8,14 zł -
-7.0%
Osłona prawa
46637652682
1 047,28 zł 973,97 zł Oszczędź 73,31 zł -
-7.0%
Osłona zbiornika
46637652684
643,18 zł 598,16 zł Oszczędź 45,02 zł -
-7.0%
Osłona boczna tylna lewa
46637652687
592,64 zł 551,15 zł Oszczędź 41,49 zł -
-7.0%
Osłona boczna tylna prawa
46637652688
575,26 zł 534,99 zł Oszczędź 40,27 zł -
-7.0%
Pokrywka
46637652689
56,89 zł 52,91 zł Oszczędź 3,98 zł -
-8.0%
Naklejka lewa
46637652727
136,27 zł 125,37 zł Oszczędź 10,90 zł -
-4.0%
Naklejka prawa
46637652728
161,09 zł 154,65 zł Oszczędź 6,44 zł -
-4.0%
Naklejka lewa
46637652729
153,84 zł 147,68 zł Oszczędź 6,16 zł